梭式窑结构示意图

点击次数:   更新时间:24/07/03 11:27:07     来源:关闭分    享:

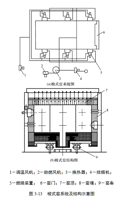
  梭式窑是一种车底式窑,窑内可以放置一辆或几辆窑车。梭式窑可以在窑车长度的两个方向上分设窑门,也可以设一个窑门。窑车进出都通过此门,所以又称为抽屉窑。由于在窑外装卸制品,大大减轻了劳动强度,改善了劳动条件。同时,可以在较高的温度下进出窑车减少窑炉热损失,能耗比倒焰窑低很多。

梭式窑结构图

  梭式窑的容积视烧成产品产量、烧成制度和燃烧装置的特性来决定。由于等温高速烧嘴的出现,大截面梭式窑相继出现,如电瓷行业梭式窑容积可达64-80㎥。
  梭式窑的工作原理与倒焰窑相同,窑内烟气的排出有几种不同形式,简单的为在窑车台面上、窑的端墙或侧墙上设排烟孔,这种排烟方式使窑内温度、压力都不够均匀。另一种是在窑车上设吸火孔,窑车面以下设水平支烟道,烟气由支烟道进入车面以下窑墙上设置的排烟孔,或是在窑车上设有吸火孔、支烟道,然后进入窑车上的竖直烟道,再进入车下的总烟道。
  梭式窑在结构的处理上要做到密封性能好,特别是窑车车下的密封及窑门处的密封更为重要,以避免因漏气而影响窑内热工制度与温度的均匀性。

  梭式窑的生产系统由燃料供应和燃烧设备、燃烧风扇、烟-空气换热器、温控风扇、排气风扇等组成。梭式窑的窑体为矩形,窑墙的砖沿着厚度方向分为三层结构,工作用衬里采用高强度耐火隔热砖,中间层用隔热耐火材料,外层用耐火纤维毡粘在窑墙上。窑顶采用平天花板结构,砖也分为三层,内层是高强度隔热砖,吊在天花板砖下面,中间层是隔热砖,顶层使用耐火纤维毡,既是隔热层,又是密封层。

梭式窑结构图

  窑门经常移动,所以窑门的砖是两层,内层是高强度隔热砖,外层是隔热层,用于将耐火纤维毡粘在窑门金属外壳上。燃烧器安装在窑壁上,根据窑的高度设置一排或两行。以窑台面为窑底,与窑顶、窑墙一起形成窑的燃烧空间,在窑车内衬砖中心留下主要烟杆,使其与地下烟杆相接触。一端(或两端)设有窑门,窑门可以单独安装,也可以堆在窑车的末端。窑车两侧的裙板插入窑墙沙封口内,窑车与窑之间、窑车与棉墙、窑门之间,曲封口、耐火纤维拧紧,起密封作用。窑墙的沙桶下还留有很多通风孔,可以冷却窑底的热量,延长窑车的寿命。
  • 联系人:任经理
    手机:139-5338-2671
  • 电话:0533-2802996-801
    邮箱:www.acju.net
  • 地址:淄博经济开发区南定镇淄河大道10号甲
    PG电子官方网站
  • 返回顶部
  • 13953382671